9
svar
124
visningar
Bayan Ali behöver inte mer hjälp
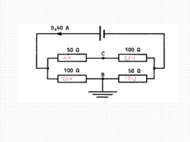
Beräkna potentialen

Vet ej hur jag ska tänka på denna
Strömmen på 0.40A delar upp sig. Hur stor blir strömmen i den övre och den nedre grenen?
0,2A på varje
ja, och hur stor blir spänningen över varje motstånd?
ok så långt.
Om du nu går från punkt B där potentialen är 0, till punkten C, via två motstånd, hur mycket har potentialen ändrats? (tänk på att strömriktningen har betydelse)
från 0 till -30 (30)
När ström går genom ett motstånd sjunker potentialen i strömmens riktning, och tvärtom. Det måste du ta tänka på här!
30 V är fel.
aha så -10+20=10V
