Ellära

Jag har egentligen gått vidare nu men kan inte låta bli att återkomma till thevenin problem med beroende ström/spänningskällo, är ändå intressant så det är svårt att släppa taget när det känns som att man är nära på att lösa problemet men ändå tycks det fattas pusselbitar. Fråga 6.8. Problemet som jag kan se det är att jag återigen inte lyckas förneka riktigt hela vägen. Måhända ska man använda kanske man kan använda KCL redan i början men jag fanns det lättare att förenkla kretsen och sedan köra maskanslys.
Obs! Jag har full förståelse för att nu är det sommartider och jag har inget som helst bråttom med att få svar : ) Jag postar endast dessa problem i händelse av att det finns något som gillar att få små problemet, lösa dessa och ge en kort förklaring :)
Mvh
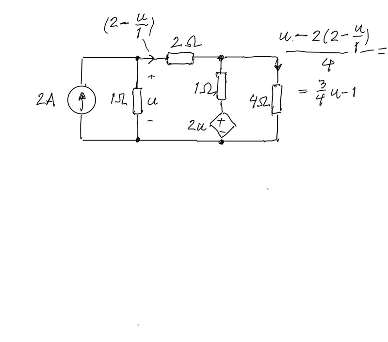
Eftersom spänningskällan 2u är beroende av spänningen u i en annan del av kretsen är det nog bättre att försöka lösa det utan Norton Thévenin konverteringar. Föreslår att börja enligt figuren.

Jan Ragnar skrev:Eftersom spänningskällan 2u är beroende av spänningen u i en annan del av kretsen är det nog bättre att försöka lösa det utan Norton Thévenin konverteringar. Föreslår att börja enligt figuren.
Lysande. Att en potentiell ström genom 1 ohms resistor. kan uttryckas som u/1, det tänkte jag inte alls på.
Därefter kan spänningen över den övre yttersta delen av kretsen uttryckas samt strömmen genom 4ohms resistorn Är tanken sedan att använda KVL och försöka potentialvandra runt den yttersta delen av kretsen för att lösa ut U?
Jag är helt med nu på att vi har ett uttryck för strömmarna genom 2ohms respektive 4ohms resistorn. Samt spänningen över den högra yttersta delen av kretsen. Men nästa steg har jag svårt med… Ska man försöka potentialvandra för att lösa ut U eller gäller det att konvertera de parallella spänningarna till något ekvivalent?
Jag menar bara att jag inte lyckas använda KVL i den yttre slingan. Däremot kan jag ju konvertera strömkällan på 2A till en spänningskälla på 2V som ligger i serie med 1+2 = 3ohm. Alltså jag vill så gärna tro att 2/3v = u-2(2-u)

Jan Ragnar skrev:
Tack! Nu förstod jag helt och hållet.
Kretsar med beroende spännings/strömkällor är verkligen svåra nötter att knäcka då man inte får hålla på och laborer med dem genom konvertering osv. Vad som gör mig häpen över den här uppgiften är att den ingår i kategorien tvåpolssatsen, men genom den här briljanta lösningsmetodiken kör man endast KCL och KVL utan att röra om i själva kretsen. Min sista undran är om du själv insåg detta endast genom att konstatera att strömmen genom 1 ohms resistorn till vänster kan skrivas u/1 = u?
Nja, det är nog snarare så att när man räknar på förstärkarkretsar, med aktiva komponenter som transistorer, då ingår också beroende ström- eller spänningskällor, och då brukar det inte vara så lämpligt med Norton - Thévenin ansatsen.
Eftersom det handlar om en sökt potential kan det i det här fallet vara enklare att använda nodanalys . Gör om den beroende spänningskällan till en strömkälla med Nortons ekvivalenta tvåpol:

Eftersom är en av nodpotentialerna, , är det enkelt att ställa upp två ekvationer, en för varje nod enligt KCL, och lösa ut .
Naturligtvis kan du även använda maskanalys som var din första ansats. Först transformerar du då lämpligtvis strömkällan till en spänningskälla, sedan tecknar du ekvationerna på vanligt vis. Uttryck den beroende källan som en funktion av maskströmmarna. Lös ekvationssystemet.
D4NIEL skrev:Eftersom det handlar om en sökt potential kan det i det här fallet vara enklare att använda nodanalys . Gör om den beroende spänningskällan till en strömkälla med Nortons ekvivalenta tvåpol:
Eftersom är en av nodpotentialerna, , är det enkelt att ställa upp två ekvationer, en för varje nod enligt KCL, och lösa ut .
Naturligtvis kan du även använda maskanalys som var din första ansats. Först transformerar du då lämpligtvis strömkällan till en spänningskälla, sedan tecknar du ekvationerna på vanligt vis. Uttryck den beroende källan som en funktion av maskströmmarna. Lös ekvationssystemet.
Hej!
Måste missat att det kom ytterligare ett lösningförslag, ber om ursäkt för det!
Jag gjorde såhär efter att ha läst din beskrivning av problemet, valde att lösa den med nodanalys;

