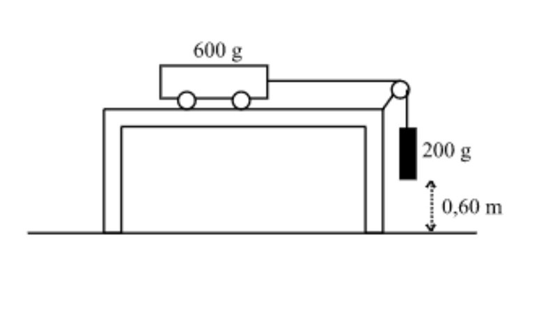
Hur stor fart har vagnen då vikten slår i golvet? Bortse från all friktion.
Vagnen i figuren står på ett horisontellt bord och hålls fast. När man släpper
vagnen kommer den hängande vikten att dra med sig vagnen i fallet.
Rätt svar: 1.7 m/s

Jag har försökt att lösa frågan ett par gånger men kom aldrig fram till rätt svar. Jag började med att omvandla enheter, dvs 600g och 200g till kg. Vagnen med massan 0.6kg har potentiell energi (mgh) och när man släpper vagnen så får den kinetisk energi (mv^2/2).
Och de vill ha farten då vikten (0.2kg) slår i golvet - jag använde mig både utav Ep + Ek och Ep = Ek formeln. Men kom inte fram till rätt svar. Har någon en idé om hur jag bör tänka? Eller vilken formel och varför den formeln för att lösa frågan?
Tack i förhand!
Precis, energiresonemang är smidigt här.
Skillnad i potentiell energi från startpunkt till slutpunkt är:
(-)m1*g*h
där m1 = 0.2 kg, h = 0.6 m.
Skillnad i rörelseenergi mellan samma punkter är
(m1 + m2)*v^2/2
där m2 = 0.6 kg.
Då får du ett uttryck för v.
Dr. G skrev :Precis, energiresonemang är smidigt här.
Skillnad i potentiell energi från startpunkt till slutpunkt är:
(-)m1*g*h
där m1 = 0.2 kg, h = 0.6 m.
Skillnad i rörelseenergi mellan samma punkter är
(m1 + m2)*v^2/2
där m2 = 0.6 kg.
Då får du ett uttryck för v.
Men har inte v^2?
Nej, men allt annat!
Energiprincipen ger v.
Dr. G skrev :Nej, men allt annat!
Energiprincipen ger v.
Förstår inte riktigt hur jag ska ställa upp det ..
Dr. G skrev :Nej, men allt annat!
Energiprincipen ger v.
Kan du vara snäll och förklara det på ett enklare sätt?
Försök själv! Du har alla siffror, du vet vilken formel de skall sättas in i. Kör du fast ändå, så visa hur långt du har kommit.
Meningen med Pluggakuten är at du skall få den hjälp du behöver för att klara av att lösa dina uppgifter själv, inte att någon annan skall servera dig en lösning på silverbricka som du bara kan skriva av utan att förstå.
I startläget är rörelseenergin 0 (allt i vila). Lägesenergin kan vi också sätta till 0.
Alltså
E = Ek1 + Ep1 = 0
När vikten når golvet med fart v är rörelseenergin
Ek2 = (m1 + m2)*v^2/2
Båda massorna rör sig med samma fart.
Lägesenergin är då
Ep2 = -m1*g*h
(m2 är ju på samma höjd som förut och har inte minskat i lägesenergi)
E = Ek2 + Ep2 = (m1 + m2)*v^2/2 - m1*g*h
Enligt energiprincipen är fortfarande E = 0.
Smaragdalena skrev :Försök själv! Du har alla siffror, du vet vilken formel de skall sättas in i. Kör du fast ändå, så visa hur långt du har kommit.
Meningen med Pluggakuten är at du skall få den hjälp du behöver för att klara av att lösa dina uppgifter själv, inte att någon annan skall servera dig en lösning på silverbricka som du bara kan skriva av utan att förstå.
Förlåt men har inte bett någon att servera mig lösningen på en silverbricka. Jag skrev väldigt tydligt i inlägget hur jag har tänkt och försökt. Jag bad personen att förklara det hen skrev med anledning att jag inte förstod vad personen menade.
Dr. G skrev :I startläget är rörelseenergin 0 (allt i vila). Lägesenergin kan vi också sätta till 0.
Alltså
E = Ek1 + Ep1 = 0
När vikten når golvet med fart v är rörelseenergin
Ek2 = (m1 + m2)*v^2/2
Båda massorna rör sig med samma fart.
Lägesenergin är då
Ep2 = -m1*g*h
(m2 är ju på samma höjd som förut och har inte minskat i lägesenergi)
E = Ek2 + Ep2 = (m1 + m2)*v^2/2 - m1*g*h
Enligt energiprincipen är fortfarande E = 0.
Nu förstår jag, tack så mycket! :)
Bra. Liknande resonemang löser många mekanikuppgifter. Utöver uttrycken för rörelseenergi finns ingen färdig formel att memorera, utan man får ta det från fall till fall. (Energi)principen är dock densamma.
Om jag lånar tråden lite. (Edit 2: Borde nog läst i tråden, Dr.G besvarade min fråga)
Om vi utgår att energin är bevarad både före och efter får vi en ekvation liknande: (initialt = efter)
W får vara arbete som tillför energi (fjäder, pump, vev)
I denna ekvation räknar man då:
Varför och när blir det att man räknar med båda massorna?
Ska det ist stå:( m+M)v^2/2 (på KEe).
Edit1: Yepp så ska det nog vara. De båda har fått den potentiella energin från blocket (med massan m). Med fått menar jag att energin övergått till kinetisk.
Tack.
Yes, de två massorna kommer här att röra sig med samma fart, då de är sammankopplade med någon typ av (inelastiskt) snöre.
Däremot är det här bara den ena massan som tappar lägesenergi.
Den tappade lägesenergin blir till rörelseenergi för hela tvåmassystemet.