Inre energi
Hej!
Jag förstår inte alls hur jag ska lösa denna uppgift, har försökt länge nu men jag vet inte alls hur jag ska göra.
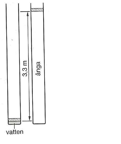
På botten av ett cylindriskt rör finns 1,0 kg vatten. Röret är tillslutet men en lätt kolv, som sluter tätt mot rörväggen utan att friktionen blir nämnvärd. Vattnet upphettas till kokning och övergår helt till ånga av temperaturen 100 C. Kolven stiger därvid 3,3 m. Ångan utövar hela tiden samma kraft inifrån på kolven som luften utifrån, nämligen 51 kN. Hur mycket har vattnets inre energi ökat vid övergången till ånga?
Hjälp och vägledning uppskattas!!
Mvh
Standardfråga 1a: Har du ritat?
Där är den tillhörande bilden
Kan du beskära bilden, så att det går att se vad den föreställer?
Skulle någon snälla kunna hjälpa mig med denna?
KriAno, det står i Pluggakutens regler att du behöver vänta åtminstone 24 timmar innan du bumpar din tråd. 14 timmar är mindre än 24 timmar. /moderator
Du behöver införa beteckningar. Vad skulle du behöva veta för att räkna ut hur mycket energi man behöver för att det lätta (men inte masslösa) locket skall "sväva" 3,3 meter högre än det gjorde innan?
Är det såhär? :
W=s * F
W: 3.3 * 51000= 168300 J
Du måste förklara bättre för att det skall gå att förstå vad du menar. Jag har helt enkelt ingen aning om ifall det du har skrivit är rätt eller inte, eftersom jag inte klarar att tyda det.
Glöm det jag skrev tidigare, tänkte nog helt fel.
Vattnets och gasens inre energi är
Vattnets inre kinetiska energi är:
massa: 1000 g
Molmassan är: 18.016 g/mol
antalet molekyler:
Inre kinetiska enegin:
Där jag antagit att temperaturen i vattnet är 293 K
1.38*(10^-23) är Boltzmans konstant
Gas:
Den inre kinetiska energin blir här:
258215.1941 J
Då jag räknat på samma sätt som innan, men temperaturen här borde bli 373 K, och antalet molekyler är samma.
Men hur räknar jag ut den inre potentiella energin i vattnet och i gasen??
Är jag på rätt väg och hur ska jag göra sen?
mvh
är det arbete som har utförts på kolven: . Vi har ju att och .
Detta förutsätter att man får slå upp värdet för .
Vad står H_vap och U_vap för?
= förändring av entalpi vid förångning (vaporization)
= förändring av inre energi vid förångning (vaporization)
