Jämvikt

Hur ska man räkna ut den här uppgiften?
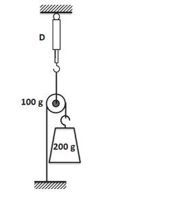
mg för 200 g vikten = 1,964
trissans vikt = 0,982
Jag förstår inte hur jag ska gå vidare?
Vad frågas efter i uppgiften?
För att det ska råda jämvikt gäller att alla nedåtriktade krafter är lika stora som alla uppåtriktade krafter.
Det innebär att på kroken, som håller triss och vikt uppe, finns det en uppåtriktad kraft som är summan av de två de nedåtriktade krafterna: trissans tyngdkraft samt 200[g]-viktens tyngdkraft
Nilsson skrev:Vad frågas efter i uppgiften?
För att det ska råda jämvikt gäller att alla nedåtriktade krafter är lika stora som alla uppåtriktade krafter.
Det innebär att på kroken, som håller triss och vikt uppe, finns det en uppåtriktad kraft som är summan av de två de nedåtriktade krafterna: trissans tyngdkraft samt 200[g]-viktens tyngdkraft
vad visar dynamometern (i kraft) är frågan
Dynamometern är kroken jag menade i detta fall.
Förstår du hur du ska gå tillväga?
De gula bildbar där mg för vikten. Stämmer detta då? Man ska beräkna alla pilar nedåt?
Kan inte riktigt tyda de olika krafterna.
Vad står för?
Den normalkraft du ritat ut antar jag att har riktad från vikten vid trissen, uppåt.
Likväl tror jag det uppstår en normalkraft från triss-snörets fästning på kroken, uppåtriktad.