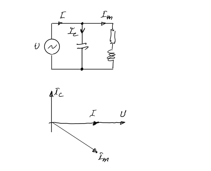
Kan någon förklara var vektorn för den totala strömmen och strömmen över kondensatorn går?



Okej har förstått att spänningen över kondensatorn går 90 grader efter strömmen över kondensatorn men vart går den totala strömmen?
Och var går strömmen över motorn?
Kan du förklara varför?
Jag har svårt att förstå vad som händer med strömmarna vid parallellkoppling. Vilka som är i fas och vilka som inte är i fas osv. Vad är värder på I, Imotor, Ic liksom?
Okej jag tror jag förstår att ditt U och I är de totala U och I. Och sen har vi ic som är 90 hrader före och im som är 32 grader efter. Men hur kommer det sig att im nu är 32 grader efter? Är inte Im i fas med U?
Vid faskompensering minskar beloppet av strömmen från nätet.

Jag förstår inte.
Vi har ju först situationen till höger utan kondensator, sen bilden till vänster med kondensator. Var ör strömmen i bilden till höger? Vektordiagrammet alltså?
