Koppling

b) Jag delade 3v/36ohm och fick 0.083A fast i facit har de delat med (0.083/3) och fått 0.027A. Varför delar man med tre, frågan handlar ju om att beräkna strömmen genom varje koppling.
Strömmen genom motståndet är U/R = 3 V/36 Ω.
Den strömmen får du dela upp på de parallella grenarna (3 st identiska).
Dr. G skrev:Strömmen genom motståndet är U/R = 3 V/36 Ω.
Den strömmen får du dela upp på de parallella grenarna (3 st identiska).
Varför ska man dela den 3? Jag fattar inte, vad har jag räknat ut genom 3 V/36 Ω ?
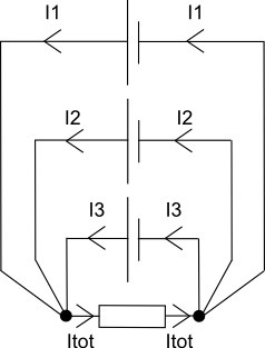
Du kan rita kopplingen så här också:

Du har (helt rätt) räknat ut Itot.
ThomasN skrev:Du kan rita kopplingen så här också:
Du har (helt rätt) räknat ut Itot.
Men går ju inte alla batterier genom samma resistans. Så borde inte 3 V/36 Ω ge enskilda strömmen för var och en av batterierna?
Tack för svaret:)
Den här kopplingen kräver att batterierna har exakt lika stor spänning.
Den spänningen (3V i vårt fall) hamnar över motståndet så Itot blir 3/36 = 0.083A.
Återigen, med exakt lika batterier så kommer vart och ett att bidra med lika stor del till Itot.
Personligen tycker jag att den här uppgiften är extremt teoretisk (och lite fånig). Om vi ser batterierna som ideala, dvs de håller konstant spänning oavsett ström, vad händer om ett batteri har lite lägre spänning?
Vi skulle då få en spänningsskillnad över ett 0-ohms resistans. Då skulle de andra batterierna mata in oändligt mycket ström in i det. (I=U/R där R är noll)