11 svar
288 visningar
Themuslim7 162
Postad: 8 apr 2025 16:16 Redigerad: 8 apr 2025 16:33

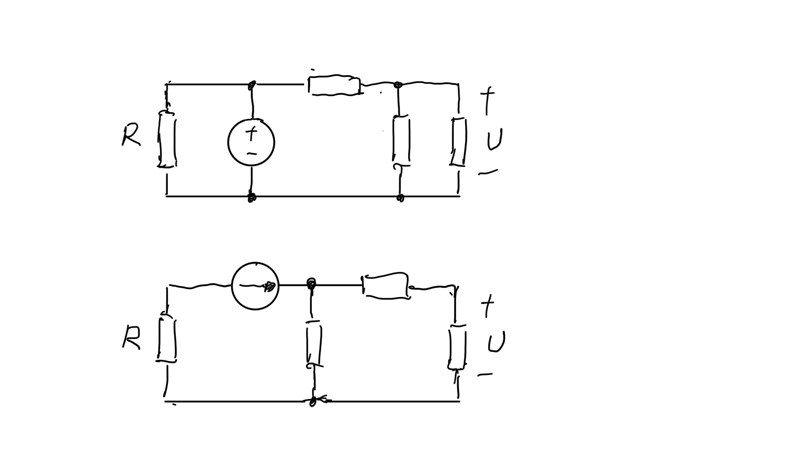
Spänningstvåpol

Jag har fått denna uppgift:

Jag ska ta fram tomgångsspänning och R, jag har löst uppgiften på ett sätt men det sättet kräver kunskap som inte har lärts ut innan denna uppgiften. Hur löser jag detta.

Min lösning:

Jan Ragnar 2218
Postad: 8 apr 2025 17:00

Anslut en voltmeter mellan a och b och du kommer att mäta U = 50•0,4 = 20 V.

Kortslut a - b med en amperemeter och du kommer att mäta 0,4 A.

Du har alltså mätt upp 20 volt i serie med 20/0,4 = 50 ohm.

Themuslim7 162
Postad: 8 apr 2025 18:05
Jan Ragnar skrev:

Anslut en voltmeter mellan a och b och du kommer att mäta U = 50•0,4 = 20 V.

Kortslut a - b med en amperemeter och du kommer att mäta 0,4 A.

Du har alltså mätt upp 20 volt i serie med 20/0,4 = 50 ohm.

Skulle detta varit en "verklig" uppgift är det givet att det är lösningen, man ska enligt uppgiten ta fram R och uT teoretiskt.

Jan Ragnar 2218
Postad: 8 apr 2025 21:50

 Man kan väl ”mäta teoretiskt” dvs beräkna?

Themuslim7 162
Postad: 9 apr 2025 21:22 Redigerad: 9 apr 2025 21:22
Jan Ragnar skrev:

 Man kan väl ”mäta teoretiskt” dvs beräkna?

Hur tar man fram uT utan att ta fram R som i första steget, genom att beräkna

Pieter Kuiper 9458 – Avstängd
Postad: 9 apr 2025 21:52 Redigerad: 9 apr 2025 21:53
Themuslim7 skrev:
Jan Ragnar skrev:

 Man kan väl ”mäta teoretiskt” dvs beräkna?

Hur tar man fram uT utan att ta fram R som i första steget, genom att beräkna

Man kan se att tvåpolens öppen-krets spänning UTh=Uab=U50Ω=IR=0,4×50=20 VU_{\rm Th} = U_{\rm ab} = U_{\rm 50Ω} = I R = 0,\!4 \times 50 = 20 \ {\rm V}.

Themuslim7 162
Postad: 10 apr 2025 20:02 Redigerad: 10 apr 2025 20:44
Pieter Kuiper skrev:
Themuslim7 skrev:
Jan Ragnar skrev:

 Man kan väl ”mäta teoretiskt” dvs beräkna?

Hur tar man fram uT utan att ta fram R som i första steget, genom att beräkna

Man kan se att tvåpolens öppen-krets spänning UTh=Uab=U50Ω=IR=0,4×50=20 VU_{\rm Th} = U_{\rm ab} = U_{\rm 50Ω} = I R = 0,\!4 \times 50 = 20 \ {\rm V}.

Just det, när tvåpolens två "uttag" bildar falska noder tror man att strömmen genom R50 är summan av två strömmar när så inte är fallet, tack. Kan man inte förenkla tvåpolen genom omvandlingar? Om inte, vilka fall är det inte möjligt

Jan Ragnar 2218
Postad: 10 apr 2025 21:53

Varför tror man att strömmen genom R50 är summan av två strömmar?

Jag tycker istället att man efter lite träning ser att 0,2 A strömkällan kan plockas bort och att de två 100- och 200-ohms motstånden kan kortslutas utan att uttaget vid a-b påverkas. Det kan ju vara ett sätt att förenkla tvåpolen.

Themuslim7 162
Postad: 12 apr 2025 11:09 Redigerad: 12 apr 2025 11:10
Jan Ragnar skrev:

Varför tror man att strömmen genom R50 är summan av två strömmar?

Jag tycker istället att man efter lite träning ser att 0,2 A strömkällan kan plockas bort och att de två 100- och 200-ohms motstånden kan kortslutas utan att uttaget vid a-b påverkas. Det kan ju vara ett sätt att förenkla tvåpolen.

På prov kan man inte skriva att jag såg att det kunde förenklas och sedan bara ge svaret. Varför kan man förenkla tvåpolen i det fallet? Jag undrar om man med just omvandlingar kan förenkla tvåpolen, är det möjligt? isåfall, hur ?

Pieter Kuiper 9458 – Avstängd
Postad: 12 apr 2025 11:19
Themuslim7 skrev:

På prov kan man inte skriva att jag såg att det kunde förenklas och sedan bara ge svaret.  

Konstigt, sådana krav tycker jag.

Det ska vara uppenbart att det går 0,4 A genom 50 Ω vid öppen krets. Och att kortslutströmmen är också 0,4 A. 

Jag skulle säga att någon som tragglar genom uppgiften i en massa av dessa "led" som krävs i svensk skola inte har förstått lika mycket.

Themuslim7 162
Postad: 12 apr 2025 11:26 Redigerad: 12 apr 2025 11:28
Pieter Kuiper skrev:
Themuslim7 skrev:

På prov kan man inte skriva att jag såg att det kunde förenklas och sedan bara ge svaret.  

Konstigt, sådana krav tycker jag.

Det ska vara uppenbart att det går 0,4 A genom 50 Ω vid öppen krets. Och att kortslutströmmen är också 0,4 A. 

Jag skulle säga att någon som tragglar genom uppgiften i en massa av dessa "led" som krävs i svensk skola inte har förstått lika mycket.

Det du säger är givet och man ska inte behöva förklara det som är uppenbart, jag syftade på att man inte bara kan ge svaret direkt om man nu skulle just omvandla sig fram. Jag menar huvudsakligen om man kan omvandla sig fram till svaret, om inte varför ? (Då genom thevenin och norton omvandlingar)

Jan Ragnar 2218
Postad: 13 apr 2025 12:18

Vid universitetsstudier borde det inte vålla någon debatt om att man, vid beräkningen av spänningarna U, kan plocka bort resistansen R i den övre figuren och kortsluta resistansen R i den nedre figuren.

Svara
Close