1
svar
82
visningar
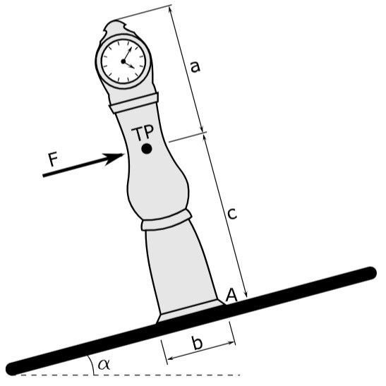
tippa en klocka som står i en lutning
Hej, jag har problem med denna uppgift. Är det någon som har tips på hur man ska göra?




Tips: Titta på det resulterande medursmomentet kring punkten A. När detta blir större än 0 så tippar klockan åt höger.