Krets med 3 parallellkopplade batterier
Hej! Hur kan jag tänka mig att strömmen går i denna krets (se uppgift b)? Strömmen går väl från varje pluspol, men borde den sedan nte attraheras till närmsta minuspol, det vill säga till batteriet längst ner i bilden?
Jag är inte intresserad av ursprungsfrågan i uppgiften, utan vill veta hur strömmen färdas. Det gäller b).

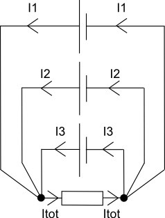
I en parallellkoppling som den här har vi 3v över motståndet och i en ideal värd bidrar vart och ett av de tre batterierna med 1/3 av strömmen. I verkligheten är varje batteri lite olika så en viss obalans råder, men är det något så när friska batterier så är det inte stor obalans. Så svaret på din fråga är att från varje pluspol går en ström som går igenom motståndet och sedan tillbaka till minuspolerna.
Godmorgon!
Nu ser jag att jag inte svarat på din fråga.
Du har givetvis en poäng i att strömmen tar lättaste vägen, men det är bara en liten kort stund.
Ganska omedelbart uppstår en obalans. Nedre batteriet får ett litet överskott på elektroner och då fortsätter de hellre upp till nästa batteri o.s.v.
Det här är ingen vetenskaplig förklaring. Elektronerna rör sig ju åt andra hållet, men om vi nu håller oss till den gamla förklaringen och ser det här symboliskt så är det här nog det bästa sättet att tänka.
Edit: I min fysikbok Heureka1 är det väldigt bra förklarat om strömmens riktning och jag antar att det är en lika bra förklaring i din fysikbok, men som sagt för att förstå räkneexempel m.m. så är det enklast att hålla sig till den gamla allmänt vedertagna regeln att strömmen går från plus till minus.
Hejsan
När en man ritar en krets så anger inte placeringen av komponenterna om de är fysiskt närmare eller längre bort från varandra. Kretsschemat är bara till för att visa den elektriska funktionen. Man kan också rita kretsen så här:

Eller så här:

Elektriskt sett är det samma sak.
Linjerna mellan komponenterna anger inte något avstånd, de talar bara om hur de är elektriskt kopplade till varandra.
Räknar man med ideala förhållanden så blir det som Conny säger, I1, I2 och I3 är lika och 1/3 av Itot.